
Stokta
OTOZONE
OTOZONE FHO7001
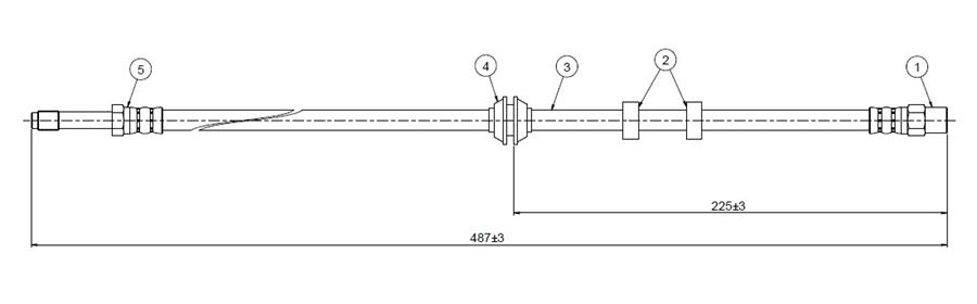
ÖN FREN HORTUMU CADDY II 1.4-1.4 16V 95-04 GOLF II 1.6 95-97 1.9 SDI-1.9 TDI 95-04 1H0611701-6K0611701
221,23TL
KDV Dahil

CAVO C800429A
CAVO
6K0611701
CAVO C800429A
CAVO
6K0611701
337,27 TL
ÖN FREN HORTUMU CORDOBA 93-02 6K0611701 ürünü, CAVO markasının kaliteli ve güvenilir ürünlerinden biridir. Orijinal parça kalitesinde üretilmiş olup, araç üreticilerinin belirlediği standartlara uygundur.







